这些年观察身边认识的普通人(上班的人),投资最终战绩,女人的平均水平,明显在男人之上。
一个主要原因是:
男人在投资上比较勤奋,花的时间多,研究的深,自信心强,
花了时间发现一个“未被市场重视的机会”,当然要出手。
越研究越觉得自己花了时间研究的东西好,类似整天看着身边颜值平平的同事,看了几年以后也觉得并非毫无姿色,某些角度某个时间也是略有风情。
所以不想走寻常路,希望另辟蹊径,
在华容道反复思考,这把诸葛亮少智周瑜无谋,决定全部人马都走小路,
结果数学上证明了的好策略,只用了小仓位,大仓位都是自己灵机一动的“神之一手”。
结局往往不太美妙,自己这个高智商又勤奋又懂人心的曹操,最终屡屡不敌市场这个更高智商的诸葛亮,在华容道被杀的丢盔卸甲。
灵机一动的“神之一手”,在全市场无数机构和散户,几万亿资金真刀真枪博弈出来的价格上,一手掏的全是翔。
典型的,买了20万微盘基金,一年翻倍了,
然后酒桌上听点消息,记了个代码,挑了一两个“特别有潜力”的股票,每个买了50万,买了以后一直跌。
饭桌上,经常听到:这几个月赚了很多,几十万本金赚几十万上百万(上了融资)。
但是你问:“你的职业生涯从开始炒股到现在,赚了多少”?
回答一般是:“再涨涨就回本了”。
刚刚谈了一个亿的项目的人,请兄弟做个推拿,一百多,还要拿出两个手机各买一张新人团购券省五块。
------------------------------------------------------------------
最近的一个例子就是我自己。
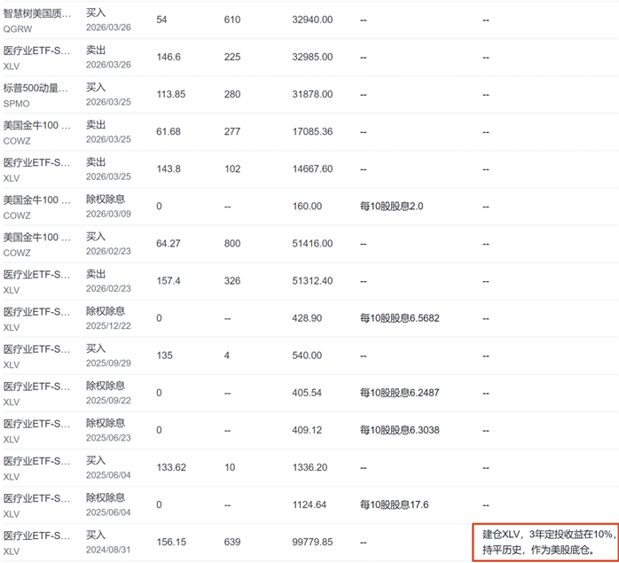
我在24年8月,对A股心灰意冷,分了不少资金去美股,
研究了大量历史数据,精挑细选,选了XLV(标普医疗)作为美股底仓(相关研究可以看当时的文章)。
一年半过去了,万万没想到,XLV作为防守仓位,类债属性的,不仅涨幅最低,而且回撤还TM最大。
跟朋友说了,他也不敢信,尼玛。
翻出当时做的备注,现在发现,即使在25年4月最低点,也没实现当时的设想:
QQQ太贵了,遇到大跌,XLV跌的肯定少,切换到跌幅大的QQQ。
其实标普医疗肯定不算冷门资产,消费医疗科技,一项是长牛资产。
但是每次你只要全压了一个,经常会掏的一手翔。
------------------------------------------------------------------------
现在的体会是:
资产首先要配置基石资产,
行业、另类资产,只能在基石资产仓位够了的情况下,作为点缀,没有也完全可以。
当然,这里面有个大坑,什么是基石资产?
美股:标普500是基石资产,纳指100作为进攻型,SCHD这种红利型也是基石资产。
其他国家:基石都是红利型,而不是你在软件上、媒体上,天天看到的宽基、行业。
A股:红利低波类是基石,对于资金量大的,IM也是基石,IC勉强也能算基石。
但你看到铺天盖地宣传的,包括“上面”认为的,觉得是核心资产的,正能量的,机构甚至郭嘉队主力配置的,
上证指数、沪深300、A500、中证500、中证1000、恒生指数、恒生科技、中概互联、消费医疗,这些都不是。
当然这些东西,除了长期回报低(5%档次)、回撤特别大(宽基40-50%档次,行业60-70%档次),也没有别的缺点了,全是优点,新闻里面天天报,那么多人亏了一直补。
绝大部分投资者,都是先买本国的宽基,因为到处宣传、产品丰富、机构主推。
所以全天下,基本只有老美投资者长期赚钱,
因为他买到的标普500,碰巧就是全世界唯一能够得上基石资产的宽基(长期回报10%档次,较大回撤10-20%档次)。
其他国家的,日本人买日经225、法国人买CAC40、韩国人买韩国综合、中国人买沪深300、恒生指数、恒生垃圾(对不起科技打成垃圾了,真不是故意的,输入法跳出来默认就是垃圾),都没买到基石,这些国家的红利其实都不错,回报和回撤,都不弱于标普500。
还有就是,等待回调,对于基石资产,是一个巨大的机会成本。
比如,SPY,一年的预期收益是10%,
你早一年入场,
和恐高,等了一年先涨了10%,后等到一个跌-10%的小危机入场,成本是一样的。
但是等一年未必就能有-10%的小危机,也可能一直涨。
甚至等两年等到一次-20%的较大危机,因为这两年前面先涨了30%,你在危机最低点买的,成本=1.3*0.8=1.04,也比无脑直接进更高。
你看去年4月的最低点,进攻型的QQQ也比防守型的XLV涨幅要高……
最后回到男人投资往往不如女人的话题,为啥呢?
主要因为女人投入时间少,风险偏好低,就想买了放着不动了,先买到红利的概率比较大,买红利的仓位也更容易买的大,中国的红利是基石,而不是宽基、科技、周期、养猪等等。
就和美国人碰巧买了标普500,容易赚钱是一样的。
仓位先搞基石,类似在学校,先把语数外分数搞上来,再去考虑要不要打个篮球弹个钢琴,别搞反了。
一个在电梯里站着睡觉,
一个在粪坑里蝶泳,在撒哈拉里面打井,织田信长在森兰丸身上耕耘想生小孩。
最后劝一句,喜欢谈宏观,尤其是喜欢研究国际政治,是男人最容易掉的坑,
你成功的把成功的自己,拉到了和北京出租车司机一个水平。
一个主要原因是:
男人在投资上比较勤奋,花的时间多,研究的深,自信心强,
花了时间发现一个“未被市场重视的机会”,当然要出手。
越研究越觉得自己花了时间研究的东西好,类似整天看着身边颜值平平的同事,看了几年以后也觉得并非毫无姿色,某些角度某个时间也是略有风情。
所以不想走寻常路,希望另辟蹊径,
在华容道反复思考,这把诸葛亮少智周瑜无谋,决定全部人马都走小路,
结果数学上证明了的好策略,只用了小仓位,大仓位都是自己灵机一动的“神之一手”。
结局往往不太美妙,自己这个高智商又勤奋又懂人心的曹操,最终屡屡不敌市场这个更高智商的诸葛亮,在华容道被杀的丢盔卸甲。
灵机一动的“神之一手”,在全市场无数机构和散户,几万亿资金真刀真枪博弈出来的价格上,一手掏的全是翔。
典型的,买了20万微盘基金,一年翻倍了,
然后酒桌上听点消息,记了个代码,挑了一两个“特别有潜力”的股票,每个买了50万,买了以后一直跌。
饭桌上,经常听到:这几个月赚了很多,几十万本金赚几十万上百万(上了融资)。
但是你问:“你的职业生涯从开始炒股到现在,赚了多少”?
回答一般是:“再涨涨就回本了”。
刚刚谈了一个亿的项目的人,请兄弟做个推拿,一百多,还要拿出两个手机各买一张新人团购券省五块。
------------------------------------------------------------------
最近的一个例子就是我自己。
我在24年8月,对A股心灰意冷,分了不少资金去美股,
研究了大量历史数据,精挑细选,选了XLV(标普医疗)作为美股底仓(相关研究可以看当时的文章)。
一年半过去了,万万没想到,XLV作为防守仓位,类债属性的,不仅涨幅最低,而且回撤还TM最大。
跟朋友说了,他也不敢信,尼玛。
翻出当时做的备注,现在发现,即使在25年4月最低点,也没实现当时的设想:
QQQ太贵了,遇到大跌,XLV跌的肯定少,切换到跌幅大的QQQ。
其实标普医疗肯定不算冷门资产,消费医疗科技,一项是长牛资产。
但是每次你只要全压了一个,经常会掏的一手翔。
------------------------------------------------------------------------
现在的体会是:
资产首先要配置基石资产,
行业、另类资产,只能在基石资产仓位够了的情况下,作为点缀,没有也完全可以。
当然,这里面有个大坑,什么是基石资产?
美股:标普500是基石资产,纳指100作为进攻型,SCHD这种红利型也是基石资产。
其他国家:基石都是红利型,而不是你在软件上、媒体上,天天看到的宽基、行业。
A股:红利低波类是基石,对于资金量大的,IM也是基石,IC勉强也能算基石。
但你看到铺天盖地宣传的,包括“上面”认为的,觉得是核心资产的,正能量的,机构甚至郭嘉队主力配置的,
上证指数、沪深300、A500、中证500、中证1000、恒生指数、恒生科技、中概互联、消费医疗,这些都不是。
当然这些东西,除了长期回报低(5%档次)、回撤特别大(宽基40-50%档次,行业60-70%档次),也没有别的缺点了,全是优点,新闻里面天天报,那么多人亏了一直补。
绝大部分投资者,都是先买本国的宽基,因为到处宣传、产品丰富、机构主推。
所以全天下,基本只有老美投资者长期赚钱,
因为他买到的标普500,碰巧就是全世界唯一能够得上基石资产的宽基(长期回报10%档次,较大回撤10-20%档次)。
其他国家的,日本人买日经225、法国人买CAC40、韩国人买韩国综合、中国人买沪深300、恒生指数、恒生垃圾(对不起科技打成垃圾了,真不是故意的,输入法跳出来默认就是垃圾),都没买到基石,这些国家的红利其实都不错,回报和回撤,都不弱于标普500。
还有就是,等待回调,对于基石资产,是一个巨大的机会成本。
比如,SPY,一年的预期收益是10%,
你早一年入场,
和恐高,等了一年先涨了10%,后等到一个跌-10%的小危机入场,成本是一样的。
但是等一年未必就能有-10%的小危机,也可能一直涨。
甚至等两年等到一次-20%的较大危机,因为这两年前面先涨了30%,你在危机最低点买的,成本=1.3*0.8=1.04,也比无脑直接进更高。
你看去年4月的最低点,进攻型的QQQ也比防守型的XLV涨幅要高……
最后回到男人投资往往不如女人的话题,为啥呢?
主要因为女人投入时间少,风险偏好低,就想买了放着不动了,先买到红利的概率比较大,买红利的仓位也更容易买的大,中国的红利是基石,而不是宽基、科技、周期、养猪等等。
就和美国人碰巧买了标普500,容易赚钱是一样的。
仓位先搞基石,类似在学校,先把语数外分数搞上来,再去考虑要不要打个篮球弹个钢琴,别搞反了。
一个在电梯里站着睡觉,
一个在粪坑里蝶泳,在撒哈拉里面打井,织田信长在森兰丸身上耕耘想生小孩。
最后劝一句,喜欢谈宏观,尤其是喜欢研究国际政治,是男人最容易掉的坑,
你成功的把成功的自己,拉到了和北京出租车司机一个水平。
0
一样跌,只要炒股,大部分都是亏,我这边3个女长辈,好听消息,连踩同一个坑,不带改的
男长辈就更多啦,不过和楼主讲的差不多,是主动研究的
也有正面例子,都是一个家族的,男的赚个100多个,女的拿了5倍没卖,又跌回一倍了,主打打死不卖
男长辈就更多啦,不过和楼主讲的差不多,是主动研究的
也有正面例子,都是一个家族的,男的赚个100多个,女的拿了5倍没卖,又跌回一倍了,主打打死不卖
0
我没见过什么投资厉害的女人,集思录也不多
不过我怀疑楼主的结论是正确的
问了一下我的ai
结论先说:有差异,但差异主要来自“行为模式”而不是“能力差异”。
研究普遍发现:男性更激进、交易更频繁、过度自信更强;女性更稳健、分散度更高、交易更少。
结果是:
• 在考虑交易成本后,男性平均收益更低(因为交易太多) cicfconf.org
• 在不考虑交易成本时,男女收益差异并不显著(说明能力本身没有差别) cicfconf.org
• 女性更保守,但长期收益往往更稳定 InvestGlass
---
P2P 固定收益市场的实证研究显示:
• 男性换手率比女性高 20%
• 年化收益比女性低 0.24%
• 差异主要来自 交易成本,不计成本时收益差异消失
cicfconf.org
这与经典股票市场研究一致:男性因过度自信而过度交易,拖累收益。
---
研究显示:
• 女性更规避风险、偏好多样化
• 交易频率更低
• 更少“彩票式”投机
• 因此在许多研究中,女性的长期收益反而更好或至少不差
InvestGlass
---
意大利银行 2374 名客户研究发现:
• 男性更自信、更激进
• 女性更依赖专业建议
• 但投资组合的流动性与分散度并无显著性别差异
搜狐
说明:行为不同,但最终组合质量趋同。
---
• 男性:更频繁交易 → 交易成本侵蚀收益
• 女性:低频交易 → 成本更低 → 收益更稳
• 男性:更愿意承担高风险
• 女性:更偏好稳健资产
→ 在波动大的市场中,女性策略更抗风险。
• 男性:更自信,容易高估信息
• 女性:更愿意寻求专业意见
→ 导致决策风格不同,但不是能力差异。
---
综合研究结论:
维度 男性 女性
风险偏好 高 低
交易频率 高 低
过度自信 强 弱
投资组合分散度 略低 略高
扣除交易成本后的收益 更低 更高/更稳
不计成本的收益 ≈ ≈
→ 关键不是性别,而是行为模式。
不过我怀疑楼主的结论是正确的
问了一下我的ai
结论先说:有差异,但差异主要来自“行为模式”而不是“能力差异”。
研究普遍发现:男性更激进、交易更频繁、过度自信更强;女性更稳健、分散度更高、交易更少。
结果是:
• 在考虑交易成本后,男性平均收益更低(因为交易太多) cicfconf.org
• 在不考虑交易成本时,男女收益差异并不显著(说明能力本身没有差别) cicfconf.org
• 女性更保守,但长期收益往往更稳定 InvestGlass
---
- 一、学术研究怎么说?(核心证据)
- 男性更容易过度自信 → 交易更多 → 收益更低
P2P 固定收益市场的实证研究显示:
• 男性换手率比女性高 20%
• 年化收益比女性低 0.24%
• 差异主要来自 交易成本,不计成本时收益差异消失
cicfconf.org
这与经典股票市场研究一致:男性因过度自信而过度交易,拖累收益。
---
- 女性更保守、更分散,但收益并不差
研究显示:
• 女性更规避风险、偏好多样化
• 交易频率更低
• 更少“彩票式”投机
• 因此在许多研究中,女性的长期收益反而更好或至少不差
InvestGlass
---
- 控制社会经济因素后,性别差异仍存在,但组合质量相似
意大利银行 2374 名客户研究发现:
• 男性更自信、更激进
• 女性更依赖专业建议
• 但投资组合的流动性与分散度并无显著性别差异
搜狐
说明:行为不同,但最终组合质量趋同。
---
- 二、收益差异来自哪里?(关键机制)
- 交易频率差异
• 男性:更频繁交易 → 交易成本侵蚀收益
• 女性:低频交易 → 成本更低 → 收益更稳
- 风险偏好差异
• 男性:更愿意承担高风险
• 女性:更偏好稳健资产
→ 在波动大的市场中,女性策略更抗风险。
- 自信 vs 谨慎
• 男性:更自信,容易高估信息
• 女性:更愿意寻求专业意见
→ 导致决策风格不同,但不是能力差异。
---
- 三、收益到底谁更强?
综合研究结论:
维度 男性 女性
风险偏好 高 低
交易频率 高 低
过度自信 强 弱
投资组合分散度 略低 略高
扣除交易成本后的收益 更低 更高/更稳
不计成本的收益 ≈ ≈
→ 关键不是性别,而是行为模式。
11
urfatu - 80后IT男-话不投机一律拉黑,垃圾信息多,拉一个清静一个
赞同来自: ken666 、花过水无痕 、xiaocongcong 、chuxingfei 、柠檬茶1225 、 、 、 、 、 、更多 »
建议锁帖。
把性别之争引到集思录来,楼主不怀好意
把性别之争引到集思录来,楼主不怀好意
Edge
Chrome
Firefox



京公网安备 11010802031449号