买卖方法:MACD公式。
趋势理论的核心思想其实是个假设,即假设上涨以后还会继续上涨,下跌以后还会继续下跌,很显然,这个假设不会总是正确的,它有时是正确的,有时是错误的,在有些品种中使用是正确的,在有些品种中使用是错误的,因此,就需要用数学方法对其进行统计,下面我就对国防ETF基金近4年的5分钟数据用MACD公式进行统计。
数据统计:统计2020/1/6到2024/1/12日期间国防ETF512670的5分钟数据(这个时段基本包含了完整的上涨和下跌周期)。
K线根数:46848,数据天数:976天,期间涨幅:19.17%(已经按2021年8月23日10份基金折算成20份基金除权处理);
该时段上涨的K线根数(包含平盘)29686根,占比63.37%,下跌K线根数17162,占比36.63%。
MACD公式(也称双均线指标):
DIFF : EMA(CLOSE,12) - EMA(CLOSE,26);
MACD认为,短周期均线高于长周期均线,就认为是上涨趋势,后面的K线大概率还会继续上涨,即当前DIFF大于零的情况下,统计当前周期到下一个周期涨幅的累加和(即统计上涨概率),统计情况如下:该类数据个数22298,涨幅的累加和为131.90%,平均=131.90%/22298=0.00592%;
MACD认为,短周期均线低于长周期均线,就认为是下跌趋势,后面的K线大概率还会继续下跌,即当前DIFF小于零的情况下,统计当前周期到下一个周期跌幅的累加和(统计下跌概率),统计情况如下:数据个数24550,跌幅的累加和为-100.94%,平均=-100.94%/24550=-0.00411%;
从统计的情况可以看出,国防ETF近4年在5分钟K线图中,当DIFF大于零时,多持有一个5分钟周期,上涨的收益率增加的概率为0.00592%,即万分之0.592,当DIFF小于零时,多空仓一个5分钟周期,可以减少下跌损失率的概率为-0.00411%,即负万分之0.411。国防ETF基金的交易手续费最低可以低到万分之0.5,很显然,只要DIFF平均连续为正或连续为负的数据个数大于2,那么根据DIFF大于零买进,DIFF小于零卖出就能获得超额收益。
根据上面的指导思想,统计了国防ETF近4年的收益情况,T+1操作,即当DIFF转正,当天买入基金后,当天不许卖出,第二天开盘后如果DIFF继续为负,则卖出,否则持有,交易手续费按万分之一计算(如果手续费是万0.5,四年时间可以增加收益约12%),四年的交易情况如下:
K线根数 46848
交易次数 1118
交易净值 2.151
交易平均周期 41.86(根据前面的分析,平均交易周期大于2就能有超额收益)
收益情况
日期 年净值 净值年涨幅 ETF年涨幅
2020/01/06 1.000
2020/12/31 1.937 93.656% 87.027%
2021/12/31 2.120 9.491% 16.185%
2022/12/30 2.074 -2.172% -26.451%
2023/12/29 2.195 5.833% -21.533%
2024/01/12 2.151 -2.041% -9.626%
4年时间可以获得了约100%的超额收益,效果明显,今年继续实盘跟踪MACD公式操作,只要国防ETF今年能出现几次明显的下跌或明显的上涨,就能获取超额的收益,还不错,今年开年就出现了明显的下跌了,已经获得了近10%的超额收益了。
注:MACD的适用性有一定的要求,并不能适用于所有品种的操作。
赞同来自: gaokui16816888
10年时间,指数涨了2.47%,按交易策略操作净值涨幅82.37%,10年有3年净值涨幅没能跑赢标的。
赞同来自: gaokui16816888 、InsulationNS
第一个指数,创业板指数399006,创业板成立14年多时间,指数涨了79.91%,按交易策略操作净值涨幅14155.86%,而且到目前为止,每年都能跑赢标的。
赞同来自: gaokui16816888
使用楼主的方法对军工、银行、创业板50分别进行了回测,时间区间为2023年9月6日至今(数据下载只能下载到9月6日,不知道为什么)。军工:超额较明显,来源于下跌过程。后三分之一产生的超额就不太明显。 银行:策略贡献为负,不如持有。 创业板50:存在一定的超额,缓慢增长。但由于回撤未考虑冲击成本,可能超额被冲击抵消。 当然,楼主的操作层面有很多变形,比如信号出现后分批买入、卖出,信号代表的是上涨和...试试上证50,宽基里面它超额可能最明显。
第2条的优化是考虑到MA20是比MACD更早的指标,我采用的逻辑是当买入后的累积涨幅大于1%时则只要MA20开始下跌则卖出,效果还是很明显的,请见附图。多谢您分享!我们一起努力,看能否对该策略做更好优化。
此策略回测从2021-01-01到2024-06-05的总收益近90%,见附件。
多标的相关性测试还在进行中。
欧阳修 - 没有长生稻,也没有荒芜田!
赞同来自: pshdyx 、坚持存款 、gaokui16816888
军工:超额较明显,来源于下跌过程。后三分之一产生的超额就不太明显。
银行:策略贡献为负,不如持有。
创业板50:存在一定的超额,缓慢增长。但由于回撤未考虑冲击成本,可能超额被冲击抵消。
当然,楼主的操作层面有很多变形,比如信号出现后分批买入、卖出,信号代表的是上涨和下跌的可能性。可能跟我的回测实质并不是一个策略。还有,以上回测用excel简单完成的,可能会存在纰漏。
总的来讲,楼主选中了好标的,刚好契合了策略。希望有其他人进行完整的回测,校正下我的回测有没有问题。
赞同来自: 口口夕口木 、KevinLe 、chenpaihao 、darkpro 、langlangcha 、 、 、 、 、 、 、 、 、 、 、 、 、 、 、 、 、 、 、 、 、 、更多 »
感谢楼主提供了很好的策略视角。理解一下:1、基于EMA长短期均线的上穿、下穿提供买卖信号;本质上是均线策略,跟MACD关联不大。2、基于历史统计数据,交易成功长期概率趋于50%、买卖盈利长期趋于大于0,建立交易心理。3、基于5分钟超短周期,短平快,利于大数定理的概率实现。4、基于买卖成功率趋于50%,采用区间买卖方式,规避因交易量过大带来的交易冲击成本问题。5、存在过拟合风险:主要是标的的选择上...这是很典型的趋势交易系统,作为放弃趋势交易的趋势老鸟,我来发表一下看法。
先讲讲优点:
1、趋势系统最大的优点不是盈利能力,而是风险控制能力。它既能回避主跌浪,又能捕捉主升浪,在风控方面简直完美——只要卖得掉,你根本不用害怕股灾。
2、它形成一套明确的基于历史统计的胜率/赔率下注的交易闭环体系,有数据可依,每笔交易都是单独的,互不干涉,赌玩走人,不拖泥带水。
盈亏同源,既然风控这么完美,那么,代价是什么呢?
再讲讲问题:
1、冲击和摩擦成本过高,摩擦成本指得是一系列小亏损。
2、真要命的失效滞后!与其他阿尔法系统不同,阿尔法策略经过一小段时间会发现阿尔法下降了而调整策略,但你需要花很长的时间和很大的代价才能大概确认一个趋势系统是不是失效了。趋势策略有类似顺风期和逆风期的表现。顺风期赚钱了,然后标的进入震荡,就会进入很长逆风期。这不是考不考验人性的问题,而是没法辨别是系统长期失效了还是因为暂时的震荡,你还必须咬牙坚持下去,以免错过下一次大反弹/主升浪。这个代价是相当大的,而且,最后会获得胜利不是必然的。
3、所有趋势历史回测的利润来源都近似黑箱,而所有的趋势量化参数研究都存在过拟合。无法从底层来解释趋势为什么在这个标的有效,而在另一个标的无效,也无法解释其利润来源。曾经我以为趋势交易的利润来源是对手的人性,如果市场是随机漫步,理论上趋势交易将无利可图,但人性难以量化和确认。有时我们确实不用管逻辑,只照着黑箱的输出去做就能赚钱,比如楼主的策略,有时则不然。
还有很多心得,先不写了。因为上面得第2点、第3点的问题没法解决,我在A股是迟迟不敢再次启动趋势策略。
欧阳修 - 没有长生稻,也没有荒芜田!
赞同来自: 墨本白 、几度沉 、gaokui16816888 、jadepan
理解一下:
1、基于EMA长短期均线的上穿、下穿提供买卖信号;本质上是均线策略,跟MACD关联不大。
2、基于历史统计数据,交易成功长期概率趋于50%、买卖盈利长期趋于大于0,建立交易心理。
3、基于5分钟超短周期,短平快,利于大数定理的概率实现。
4、基于买卖成功率趋于50%,采用区间买卖方式,规避因交易量过大带来的交易冲击成本问题。
5、存在过拟合风险:主要是标的的选择上。需要基于历史数据回测,判定是否具有趋势性,来选择标的。比如,不适合应用在国外市场,因为每日开盘价格存在跳价,抹去了价格变化的过程,导致日内价格变化不大,缺乏趋势性。也不适合成交量较小的标的,走势趋势性较弱。
5月29日-6月7日期间,5分钟周期下,军工买卖信号4次,银行8次,沪深300 5次,上证50 5次,创业板8次,中概9次,可以看到军工信号出现最少,可以预计一次信号持续的时间最长,也就是趋势性更强,花在“震荡”上的成本就越低。所以,选择的标的非常重要。当然,“运气好”,选择了正确的标的,肯定是能带来正收益的。
6、因为缺乏底层逻辑,对于为什么会对于标的产生超额的根因,无法给出。造成无法评估判断策略是否失效,是否是短期失效还是永久失效。
赞同来自: KevinLe 、jadepan 、gaokui16816888
谢谢您分享。请问第2、4条方便具体展开说明吗,例如第2条如何用MACD和MA20来优化,是今年收益提高到48%吗,往年有回测吗;第4条好像也不容易实现,发现即使换标的了还是比较相关,而且其他标的超额优势明显比不上。第2条的优化是考虑到MA20是比MACD更早的指标,我采用的逻辑是当买入后的累积涨幅大于1%时则只要MA20开始下跌则卖出,效果还是很明显的,请见附图。
此策略回测从2021-01-01到2024-06-05的总收益近90%,见附件。
多标的相关性测试还在进行中。
楼主的思路很有参考价值,先表示感谢。谢谢您分享。请问第2、4条方便具体展开说明吗,例如第2条如何用MACD和MA20来优化,是今年收益提高到48%吗,往年有回测吗;第4条好像也不容易实现,发现即使换标的了还是比较相关,而且其他标的超额优势明显比不上。
同时有以下问题,想请教楼主:
1.当买入当天触发卖出信号而在下一交易日卖出时,是否应在开盘时卖出,而不必等到9:35?
2. 是否考虑过加入其它指标?我尝试同时用MACD与MA20(or)来提供卖出信号,收益能提高到48%,也可能有过度优化的嫌疑。
3. 是否考虑过止损?我主观上觉得买入后如果跌幅过大,则不必等到DIFF变为负值再卖出,不过看数据好像大多数较大...
赞同来自: gaokui16816888
同时有以下问题,想请教楼主:
1.当买入当天触发卖出信号而在下一交易日卖出时,是否应在开盘时卖出,而不必等到9:35?
2. 是否考虑过加入其它指标?我尝试同时用MACD与MA20(or)来提供卖出信号,收益能提高到48%,也可能有过度优化的嫌疑。
3. 是否考虑过止损?我主观上觉得买入后如果跌幅过大,则不必等到DIFF变为负值再卖出,不过看数据好像大多数较大亏损都出现在买入当天出现卖出信号而不得不在下一交易日卖出的情况下,如果是这样止损也不会有多大改善了,但是对T+0标的应该是有意义的。
从分散风险以及策略容量的角度考虑,个人觉得还是同时交易多个标的更可靠,选择高波动低相关的标的,能使收益曲线更平滑,收益率却不一定降低很多,看楼主的贴子,楼主在这方面也做了很多工作,但是实盘一直是单一标的,可能还是想让子弹再飞一会儿吧,祝楼主好运。
赞同来自: lyjgeorge 、芹菜可转 、pshdyx 、滚雪球2020
楼主怎么做到0.639卖出的?在转负当下5分钟还是提前卖了?我6成仓,分20份,一路从买一价0.638卖到0.636。中间好像也没反弹过。只要按照我前面说的,20分钟内每分钟成交5%仓位的方法就可以了,这次的成交均价有可能会差于信号发出的指导价,但下次的成交均价就可能会优于信号发出时的指导价了,一个原则,就是尽量在20分内完成总仓位的交易,不要过分的在乎本次的成交均价是优于还是差于信号发出的指导价,交易次数多了,所有成交均价的总平均值会无限趋近于信号发出指导价的均值。
昨天卖出,今天看盘爽吧!
“端午节”果然是个“劫“。
赞同来自: gaokui16816888
新高,净值连创新高,年净值涨幅37.175%,年跑赢标的也连创新高45.8%。下午14:30五分钟的DIFF转负,尽管日线上看很漂亮,但还是严格遵守规则,果断卖出空仓。端午节快到了。楼主怎么做到0.639卖出的?在转负当下5分钟还是提前卖了?我6成仓,分20份,一路从买一价0.638卖到0.636。中间好像也没反弹过。
赞同来自: gaokui16816888
测了全部ETF量化效果,发现正数不到一半,今年国防ETF表现差不多是最好的,而在2021年国防ETF量化效果是负值,其他年份都表现很好,我在想有没有一种可能在众多ETF中国防ETF刚好是幸存者偏差,将来不可持续你的担忧很有道理。如果将来某一时候,不再有超额收益,是坚持还是收手?因为今天的国防ETF,完全有可能像其它ETF一样没有超额收益,甚至是负值。只要存在这种可能,心中的坚持其实是没有底的。
赞同来自: gaokui16816888
johndon0313 - 趋势跟踪交易者
赞同来自: alonelie 、口口夕口木 、愤怒的小小鸟 、xixili2020 、geneous 、 、 、 、 、更多 »
赞同来自: alonelie 、KevinLe 、yc850k 、滚雪球2020 、gaokui16816888更多 »
今天按照楼主的策略试了一笔,是2点05分出现买入信号,06-07分2笔按市价下单,因为市价是买一价,前面有2万多手,实际全部完成是28分成交。我想问一下,如果长时间未成交,当天收盘前楼主会高位追进买入还是等下探?不等下探,把资金分成20等份,当发出买入信号后,先在买1上挂5%仓位买单,如果这1分钟内该买单不成交,就另挂一个卖1价格的买单买入5%的仓位,原来挂的买1的5%仓位的买单在下1分钟继续等,下1分钟只要DIFF大于零,还是按此方法操作。容易吧,傻瓜型操作,一点也不用纠结。
赞同来自: alonelie 、gaokui16816888 、邻居家的龙猫
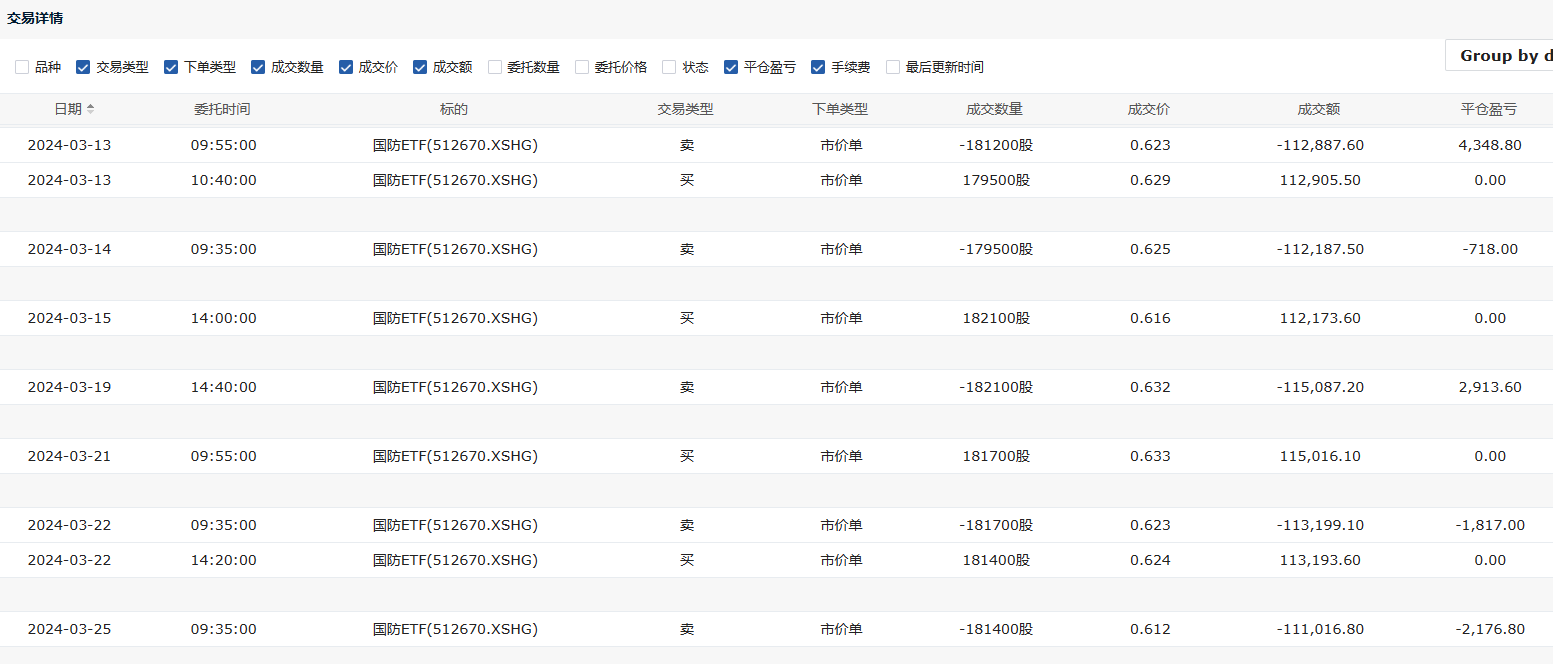
请问这张表的倒数第二笔 2024/5/17 09:55 买入, 但是这个时候5分钟diff值是0啊?MACD缺省的公式:
我的理解是连续两个5分钟K线 diff值大于0 才可以买入,还是我理解错了
DIFF : (EMA(CLOSE,12) - EMA(CLOSE,26));
DEA : EMA(DIFF,9);
MACD : 2*(DIFF-DEA), COLORSTICK;
把DIFF : (EMA(CLOSE,12) - EMA(CLOSE,26));改成DIFF : ((EMA(CLOSE,12) - EMA(CLOSE,26)))*1000;就不会显示0了。
赞同来自: gaokui16816888 、不虚不实
湖中焉得更有此人请教一下,为什么喜欢用30分钟。一般来说我记得用技术的人,都不太看30分钟,期货可能有人看。30分钟定开平仓比较容易错。
4月痛风在家,闲极无聊。
恰逢小长假,资金参与逆回购+短债,锁定后,账户不足万。
做短差为持有的ETF增益,期望值极低,只要增益即可。
日线、30分钟MACD红柱绿柱差定方向,看大做小,正T,反T都做。
大致思路与楼主接近,略有不同。
以上几个因素碰撞在一起,发现正确率畸高。哪怕一个因素不存在,也不可能尝试这个战法。
由于资金太少,半导体、军工持仓稍多,一天之内需要反复做才能把整...
我个人短线,日线周线定方向,15分钟60分钟决定开平仓时点。30分钟只有15分钟和60分钟看的不清楚,需要参考一下时候才看。主要看看技术指标和上下影线。因为数上下影线比较容易有变数。
周净值涨幅0.565%,年净值涨幅29.483%,年内跑赢标的38.8%,跑赢标的创年内新高,本周不错,周跑赢标的1.975%。请问这张表的倒数第二笔 2024/5/17 09:55 买入, 但是这个时候5分钟diff值是0啊?
我的理解是连续两个5分钟K线 diff值大于0 才可以买入,还是我理解错了
我用的是大智慧365收费版,电脑上用的,双11的时候买的。这个策略对速度要求不高,大智慧365免费版也完全可以胜任。我也试用公式编写量化效果和收益曲线图等,试了很久都做不出来,楼主是否能分享所编写的公式,要求有点过份,希望您不会介意,无论如何都感谢您在这无私的分享!!!
最近1年左右的数据回测用大智慧(大智慧只能下载约1年左右的5分钟数据),编公式可以显示K线图和收益曲线图,看着方便直观。
多年数据的回测用EXCEL,5分钟K线数据通过通达信导出。
下图为医药ETF159929从2023年1月1日以来的收益曲线图,2023年1月1日以来,收益为-5...
赞同来自: 口口夕口木 、KevinLe 、gaokui16816888 、更名了jxjx
4月痛风在家,闲极无聊。
恰逢小长假,资金参与逆回购+短债,锁定后,账户不足万。
做短差为持有的ETF增益,期望值极低,只要增益即可。
日线、30分钟MACD红柱绿柱差定方向,看大做小,正T,反T都做。
大致思路与楼主接近,略有不同。
以上几个因素碰撞在一起,发现正确率畸高。哪怕一个因素不存在,也不可能尝试这个战法。
由于资金太少,半导体、军工持仓稍多,一天之内需要反复做才能把整个持仓做一遍,但有正收益激励,乐此不疲。
没想到在论坛遇到高人总结出理论标准
当饮三大白
赞同来自: alonelie 、KevinLe 、sasing 、lyjgeorge 、gaokui16816888 、 、更多 »
麻烦楼主手把手指点一下,今天0.626 买入,明天大概率得卖出,这点我还不很清楚,明天观察到 9 点 35 分,还是观察到 9 点四十?一般早上开盘前20分钟波动比较大,你可以分批操作,把筹码分成10等份或20等份,从9:30分开始,只要当前这分钟的DIFF小于零,就卖出1等份。
上次 9 点 35 分没有卖出,后来吃了亏。感觉还没有学到精髓。
望楼主赐教
比如9:30DIFF小于零,卖出1等份,9:31DIFF还小于零,再卖出1等份..........,如果9:38DIFF大于零了,就停止卖出,改买入1等份,依次类推,操作原则就是只要当前这分钟的DIFF大于零,就买入,当前这分钟DIFF小于零就卖出,你只要在DIFF改变符合后的20分钟内根据上述方法处理完毕,对最后的总收益的影响几乎可以忽略不计,且净值比较平滑。
赞同来自: 口口夕口木 、KevinLe 、horizon668
楼主,请问一个问题,如果历史回测为有超额收益,如何保证未来也有超额收益。历史的回测,选了趋势强的国证,假如,未来的一天国证变得趋势不那么强了,你看到超额收益为负,你是会认为是系统不适用了,还是说会继续坚持这个系统呢?你这个问题很好,也是我关注楼主的帖子的原因。
我主观判断,现在超长期的周期是技术无用论,已经被新股民充分信仰的末端。而由于大多数人挣不到钱的大势,驱动还愿意留在市场,有精力体力能力自我批评,积极学习的新股民们。会越来越多的开始尝试各种解救自己的方式方法。
而市场的主导力量,就是很多人嗤之以鼻的大机构,他们的操盘手是用技术的,他们下场子的标的,可以观察到。
我个人是21年,逆势的疼了。开始转超长线的。22年6月份观察全市场的不正常,和上证50开始走的坑坑挖挖了。全面转向的。
那个时候,就开始批判着相信技术,只相信超长期级别的技术反馈。
现在是慢慢的等待技术有效的标的,和用技术信技术的市场参与者越来越多。
顺便感谢一下楼主的帖子告诉了我现在技术有效的标的
赞同来自: gaokui16816888
谢谢楼主,看到这两天的明细,发现跟上楼主了,心中窃喜能跟上就好,同喜!
我4月25日就发过帖,“国防ETF日线MACD的DIFF今天或者明天站上零轴,这样的话,5分钟、15分钟、30分钟、60分钟、日线的DIFF全部站上零轴,多周期共振了。”
现在是日线、60分钟、30分钟、15分钟多周期共振了,最近要跟的紧密一点哦。
赞同来自: gaokui16816888
楼主可以请教一下这个公式回测,在通达信怎么写吗?我弄出来的怎么跟你不一样?通达信的公式功能没大智慧强,如果通达信的公式你弄不了,你可以在Excel中回测。
我是用大智慧和Excel两套系统回测,两套系统互相印证。
赞同来自: dragonyoung 、gaokui16816888
楼主,请问一个问题,如果历史回测为有超额收益,如何保证未来也有超额收益。历史的回测,选了趋势强的国证,假如,未来的一天国证变得趋势不那么强了,你看到超额收益为负,你是会认为是系统不适用了,还是说会继续坚持这个系统呢?题目已经说了,理论基础是基于数学概率和趋势,统计了最近10多年的数据,这个概率是有效的,你要担心未来的失效,我没办法保证未来,但我相信数学概率。
年初我发帖的时候,很多人上来说振荡行情要反复打脸,但这些人都没做过数学统计,只是凭他们的想象放大化了被打脸的痛苦,而弱化了吃肉的幸福。
楼主资金规模多大?全进全出能平滑交易?1.回测统计的每次交易用的是一个时点,一个价格,但实际交易并不需要固定在一个时点和一个价格上,我回测过,交易系统发出信号后,再过5分钟,或者10分钟,或者15分钟再交易,收益率并无多大差异,所以,实盘交易一般在20分钟内处理完毕就可以了,你完全可以在发出信号后,每隔1分钟交易5%或10%的仓位。从统计数据你也可以看到,按交易次数统计,交易的正确率还不到50%,也就是说,发出买入信号后,有50%多的概率能买到比系统提示更低的价格,所以你完全可以在发出信号后,悠闲的慢慢的交易,别顾虑这次交易是对的还是错的,你顾虑也没有用,数学的概率已经说明了你再这么努力,正确率就是50%左右。该策略的超额收益主要来自于能躲掉大跌,抓住大涨,而不是平时大多数情况下的振荡行情。在平时大多数情况的振荡行情中你卖出了,或者买入了,正确率是50%左右,当然你持股或空仓不动,正确率也是50%左右。
2. 你不需要局限于512670国防ETF,512680军工ETF龙头,512660军工ETF,512810国防军工ETF等很多品质都可以交易,这些品种今年按系统交易,收益率差别不大的。
3. 股票的走强和走弱是个过程,完全没必要象很多量化研究者那样,把交易固定在某一秒的某一个价格上,前一秒空仓,后一秒就满仓,还弄出什么滑差之类的很多概念,很不科学。如果以上观点认可,你还会觉得不能平滑交易了吗。
赞同来自: hibye
今年前2个月表现特别优异,主要原因是出现了大幅下跌和大幅反弹,大跌基本上都躲掉了,大幅反弹基本上都抓住了。3月和4月的表现和往年大多数时间差不多,没什么特别的,3月和4月2个月的净值涨幅5.25%,标的价格涨幅0.17%,跑赢标的还是可以的。
国防ETF今年跌幅-12.93%,弱于大多数指数,走的弱没关系,只要不忽上忽下就行。
下图为胡乱推演的国防ETF未来2个月的日K线走势图,胡乱推演的,不要当真哦。
我统计过所有的ETF基金,今年比国防好的ETF还有好多只,但把时间拉长了看,还是没好过国防ETF。年初我选国防ETF就是综合多年的效果选取的。以下这些ETF今年比国防ETF好。给楼主个建议,你这个ETF完全可以替换成相应的lof。比如新能源车lof,macd趋势叠加申赎套利不是更香
赞同来自: gaokui16816888 、drzb
楼主有试过其他的etf吗?是或多或少都能跑赢还是仅限国防etf等少部分趋势明显的行业etf?宽基etf如何呢?我统计过所有的ETF基金,今年比国防好的ETF还有好多只,但把时间拉长了看,还是没好过国防ETF。年初我选国防ETF就是综合多年的效果选取的。
以下这些ETF今年比国防ETF好。
ptcwl
- 还是做可转债吧
差异很大的原因有两个:谢谢,没算上周五到本周一卖的收益是差距的主要来源,至于其他买入卖出的差价都在范围内,也没办法精确到那一分钟,成交价相差个0.001-0.002也很正常
1.你少算了1笔收入,上周五收盘价是0.562,本周一早上9:35分以0.572卖出的收益0.010你没有算,图中橘黄色标出。
2. 你用的行情软件和目前券商通用的行情软件的价格不一样,我用的通达信和大智慧,大智慧和通达信软件15日10:15的价格都是0.570,可以参看截图。还有2024/04/18 的行情软件14:55DIFF转负,以0.576卖出,而不是在14:50以...
按照系统,应该是15日10:15买入0.573元,16日9:35卖出0.57元,17日9:55日买入0.567元,18日14:50卖出0.578元,19日10:40买入0.583元。到周五收盘全周盈利0.008元,收益率1.4%,和你的收益差距很大,是什么原因?差异很大的原因有两个:
1.你少算了1笔收入,上周五收盘价是0.562,本周一早上9:35分以0.572卖出的收益0.010你没有算,图中橘黄色标出。
2. 你用的行情软件和目前券商通用的行情软件的价格不一样,我用的通达信和大智慧,大智慧和通达信软件15日10:15的价格都是0.570,可以参看截图。还有2024/04/18 的行情软件14:55DIFF转负,以0.576卖出,而不是在14:50以0.578卖出,再有2024/04/19 10:40,我用的两个行情软件都是0.582,为什么你的又是不一样,是0.583?
我用的行情软件本周的收益是0.021元。
ptcwl
- 还是做可转债吧
本周净值涨幅4.30%,国防ETF周涨幅3.91%,本周跑赢标的0.39%,年净值涨幅20.038%,年跑赢标的36.1%。按照系统,应该是15日10:15买入0.573元,16日9:35卖出0.57元,17日9:55日买入0.567元,18日14:50卖出0.578元,19日10:40买入0.583元。到周五收盘全周盈利0.008元,收益率1.4%,和你的收益差距很大,是什么原因?
上周出现连续错误比较多,本周正确的操作多了,正确率始终在50%左右徘徊,非常符合历史统计规律。
上周出现连续错误比较多,本周正确的操作多了,正确率始终在50%左右徘徊,非常符合历史统计规律。
我也经常看他的组合,经典的趋势择时交易系统回撤小本来就是优势,但你看动量轮动的这两年就惨不忍睹了。我当初的模型也是有些问题的,非常不适合21年以后的行情。请问老师,到哪里可以看白云飞组合?
赞同来自: gaokui16816888
有一个疑问,5分钟的触发是按5分钟内每一秒的diff值还是按5分钟最后一秒收盘的diff值?特别是早盘的时候,5分钟内很多时候都会出现正负值小幅来回切的情况。比如1.4那次操作,如果按收盘价,9点35是正值,按理无需卖出,那9:40的时候没有买入的情况,那么9:55收盘的价格就会触发卖出,因为是这么一次买卖操作,对后面影响其实是巨大的,因为接下去就是暴跌的开始。diff是一个观察值,表示短期均线和长期均线之间的距离,短期均线站在长期均线上面,DIFF为正,表示多头排列,否则就是空头排列,DIFF为零,表示多空平衡,很多时候在5分钟内出现正负值小幅来回切的情况,表示多空基本平衡,这个时候你可以参考MACD柱体的长短,如果MACD柱体是红的,且比较长,表示上涨力量足,即使DIFF还没有完全转正,也可以分批慢慢买起来的。
总之,DIFF值在零轴附近,表示多空基本平衡,此时原来DIFF为负,仓位轻的可以分批买点仓,原来DIFF值为正的,仓位满的,可以分批卖点。
赞同来自: KevinLe 、滚雪球2020 、kgqbooks 、胆子真不大
周二10:20,0.580抄底,周三09:40,0.573止损,损失-0.007
周三14:45,0.569再抄底,周四09:55,0.567再止损,损失-0.002
周四10:10,0.569继续抄底,周五09:35,0.566再止损,损失-0.003
周五10:05,0.569继续抄底,到收盘0.562,账面损失-0.007。
本周抄底4次,4次全失败的,账面损失-0.019,这就是很多人说的两面打脸,但还是好于本周国防ETF持有不动的跌幅-0.027,所以两面打脸并没有那么可怕。
有一个疑问,5分钟的触发是按5分钟内每一秒的diff值还是按5分钟最后一秒收盘的diff值?特别是早盘的时候,5分钟内很多时候都会出现正负值小幅来回切的情况。比如1.4那次操作,如果按收盘价,9点35是正值,按理无需卖出,那9:40的时候没有买入的情况,那么9:55收盘的价格就会触发卖出,因为是这么一次买卖操作,对后面影响其实是巨大的,因为接下去就是暴跌的开始。我理解是按5分钟K线走完后收盘的diff值。等楼主给出标准答案。
2020/01/06 1.000
2020/12/31 1.937 93.656% 87.027%
2021/12/31 2.120 9.491% 16.185%
2022/12/30 2.074 -2.172% -26.451%
2023/12/29 2.195 5.833% -21.533%
2024/01/12 2.151 -2.041% -9.626%
4年时间可以获得了约100%的超额收益,效果明显,今年继续实盘跟踪MACD公式操作,只要国防ETF今年能出现几次明显的下跌或明显的上涨,就能获取超额的收益,还不错,今年开年就出现了明显的下跌了,已经获得了近10%的超额收益了。
你获得超额收益实际接近于下跌的时候空仓
假设底部反弹2%买入,顶部回落2%卖出,你的策略触发灵敏度可能更高,5分线几乎1-2天就会触发一次,看看在正确性和收益率上会不会趋同?
赞同来自: Helmet
做这种净值不到1元的标的摩擦不会很大吗?现价0.569,要保证交易挂单就要至少变动1厘,即0.001/0.569=0.17%。不存在摩擦成本的,DIFF转正的含义只是表示在此时段开始,股价可能要走好了,但真的出现走好(发出卖出信号时刻的价格高于买入处的价格)的概率只有50%,所以,你完全可以在此时段内挂买单买,一般在20分钟内处理完毕就可以了,处理的成交均价不一定会高于发出信号的那个5分钟的最后1秒的成交价,你完全不必在发出信号的那个5分钟的最后1秒(很多搞量化的人都会机械的要这样处理,还取了滑差之类的名词)的当时价格买入。
比如今天下午14:45发出买入信号,买入价格为0.569,现在你自己可以去看看,14:50,14:55,15:00时段内,有很多0.568的价格成交,0.569可以轻松成交,今天下午实盘交易的平均成交价格只会比0.569低,当然有时也会高一些,只要交易次数足够多,实盘的平均交易价格会无限趋近于发出信号处的平均价格。
当然,用这个方法要有时间看盘,没时间看盘的人是处理不了的。
赞同来自: gaokui16816888
楼主,请教下为什么您4月9日的买入点位是10:20分呢。明明一开盘macd就转正了哦。而且用5分钟MACD来预测T1的事情,这个是否时间上没法完全推理你理解错了,不是MACD转正了买入,而是MACD公式中的DIF值转正买入。
DIF: EMA(CLOSE,12)-EMA(CLOSE,26);
EMA(CLOSE,12)和EMA(CLOSE,26)代表两条均线,一条短期均线EMA(CLOSE,12),一条长期均线EMA(CLOSE,26),DIF转正代表短期均线上穿长期均线。
MACD公式:
DIF:EMA(CLOSE,12)-EMA(CLOSE,26);
DEA:EMA(DIF,9);
MACD:(DIF-DEA)*2,COLORSTICK;
今天卖出,楼主在表格中能不能列出每一次买卖的收益率呢?不知道正确率是什么意思?你说的收益率就是表格中的正确率,如果买入价格低,卖出价格高,收益率为正,如果买入价格高,卖出价格低,收益率为负,这个收益好理解,但还存在另一种情况,卖出后,可能以更低的价格买回,那么这个操作是正确的,但这个操作并不产生收益,只是没增加损失,所以,我就取个名字叫正确率,正确率表示做对了,做对了,可能会增加收益,也可能会不增加损失。
比如今天上午9:40,DIFF转负了,交易系统指示以0.573的价格卖出,但下午14:45,DIFF又转正了,交易系统指示,以0.569买回,所以,上午9:40的卖出是正确的,做成了0.4分的差价,但今天的价格跌了1.2分,所以今天的净值是减少的,相对于昨天,收益率还是负的。
Edge
Chrome
Firefox































京公网安备 11010802031449号