昨天最吸引人眼球的莫过于刚上市的30年国债的爆炒了!尤其是沪市的这只24特国01(019742)。上午直接被拉涨25%,对应收益率直接被拉低至1.5276%!
才1.5276%的收益率,当然维持不了这么高的价格,尾盘跌回来才是正常的。
关于国债价格上涨,为什么收益率反而下跌?梅姨在前几天的《懵了!长期国债跌了!怎么回事?》曾经举例解释过。那个解释更简单明了,感兴趣地可以看看。
简而言之,人家本来面值100元,票面利率2.57%,每年付息2次,拉长30年给的利息都是固定的,到期偿还的本金还是100元,所以未来30年的现金流都是固定的。我们完全可以用梅姨在《重视钱的时间价值~》中介绍的XIRR来算出到期收益率。如果按照现在的利率水平,收益率差不多就是接近票面利率的。
结果,现在一个收益率2.57%的产品,本来100元就能买到,硬生生被炒到要花125元才能买到,你成本提高这么多,未来现金流进账又固定,这中间的差价自然就少了,收益率自然也就降低了。当收益率被拉低至只有1.5276%,都跟银行存款差不多了,那还抢个什么劲啊,价格应声下跌就合情合理了。
但我是真没看懂昨天这个新上市的国债被炒作的逻辑……
是大家觉得2.57%的利率很香吗?觉得未来利率下行,实在找不出收益稳定、风险还低的投资了?所以先占个坑锁定一下这个利率?但是,你把价格炒这么高,你的收益就降低了呀,也锁定不了2.5%的利率呀?其次一。
其二,这是新发的30年国债,但不代表是市场上唯一的长期国债啊!市场上现存还有其他的30年国债啊!比如20国债12(019642),票面利率3.81%,目前收益率2.61%,剩余期限26.31年;21国债05(019653),票面利率3.72%,目前收益率2.59%,剩余期限26.89年;22国债08(019673),票面利率3.32%,目前收益率2.61%,剩余期限27.9年;等等等等……
哪个不比抢这只新上市的国债香图片所以真没看懂炒作的逻辑……
而且,作为普通人真没必要去买国债,本来这玩意主要的市场就是在银行间市场,主要都是机构投资者在玩。交易所市场并不是主要市场。
就像昨天同样的这只国债,银行间市场就没被炒作,说明人家机构投资者懂行啊!而在交易所的二级市场就被瞎炒了,7500多万的成交额对应400亿的发行规模,妥妥滴散户自嗨自割韭菜行为图片
那作为普通人,怎么投资长期国债比较好呢?
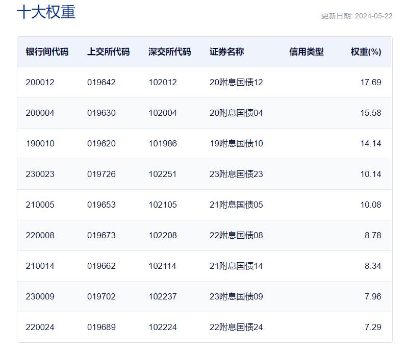
建议大家买国债ETF吧。比如跟踪上证30年期国债指数 (950175)的博时上证30年期国债ETF(511130)。前面梅姨举例的现存30年期国债都被包含在内了。下面是其前10大权重国债,多着呢,真没必要去抢一只新发的!
咳,这次新发30年国债被爆炒,感觉真的是因为散户不懂带来的闹剧,所以我们这些散户,还是要多学习呀,别给咱散户丢脸,哈哈~
Edge
Chrome
Firefox


京公网安备 11010802031449号